3.10 查看工单进展及报表统计
一、查看服务工单进展
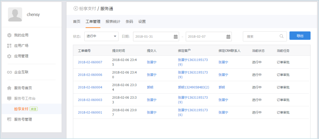
管理员进入服务通-工单管理模块,可查看工单列表和当前任务,支持按流程状态筛选,支持搜索和导出;

二、查看数据报表
工单报表统计:
- 服务工单数量统计;
- [预制报表]按客户汇总统计服务工单记录;
- [预制报表]按产品分类及产品统计服务工单记录;
- 引用在CRM管理后台配置的服务工单自定义报表
服务评价统计:
- 已完成评价的工单占比统计;
- [预制报表]内部售后服务处理者工单服务及评价记录表;
- [预制报表]合作伙伴工单服务及评价记录表——仅开启派工单应用后才会预制该报表;
- 引用在CRM管理后台配置的服务工单自定义报表
流程统计:
- 进行中/结束/终止的流程;
- 正常/超时/异常的任务;
查看报表统计的入口:

服务通报表统计的说明:
- 微联服务号管理员可以查看工单、评价和流程三个维度的报表统计,如果需要查询详细数据可以点击右上角按钮一键跳转CRM相关数据列表页;
- 已预制4个服务工单及服务评价的BI报表,企业也可以在CRM中自定义服务工单、服务评价的BI报表,在服务通报表统计中支持查看客户自定义的BI报表;